靠磁力更换不同镜头:Canon“手机夹”相机专利曝光
- 网络
- 浏览
- 2021-08-01 10:33
手机的拍摄功能愈见强劲,透过内置多组不同的镜头已经可以做到超广角、广角至标准焦距,以至是远摄效果,而利用潜望式镜头的屈折式光学设计,超远摄焦距已不是难事。不过,似乎 Canon 预计手机有限的空间不可能无止境的加入更多的镜头,所以申请了一个手机夹相机的设计专利,希望透过独特的可更换式模组设计,为手机用家扩展他们的摄影视野!

日本制手表品牌 TACS,双镜头相机设计!表匠亲手装嵌!!
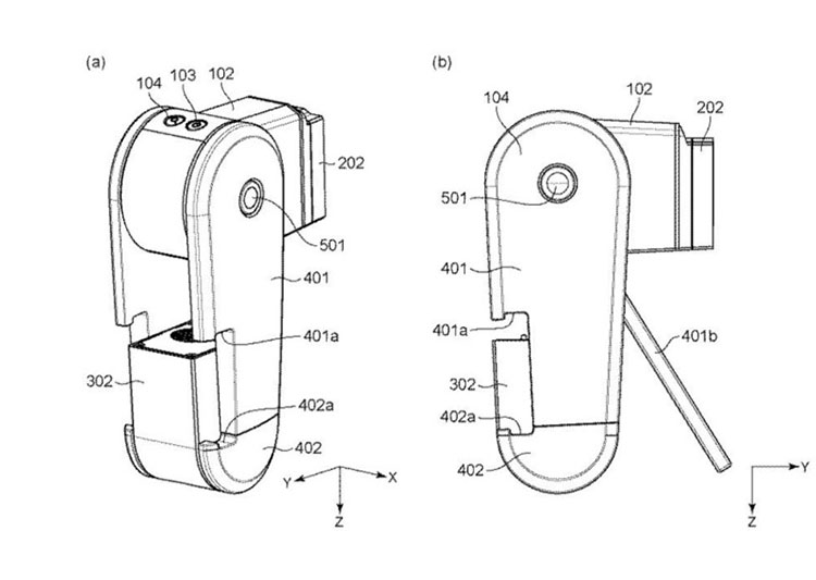
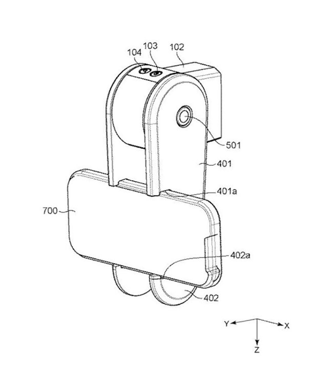
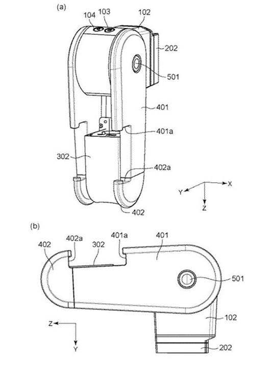
Canon 这个手机夹相机的外型有点像瑞士军刀,上方镜头部分可作 270 度旋转,至于底部藏有一个折叠式支架,用来支撑用,当然产品下方亦预留一个可延伸的弹性装置,当产品用来“夹手机”时,藉以迎合不同尺寸的手机。根据专利,Canon 手机夹相机可以独立运作,镜头部分为模组式,可利用磁力固定在一起,意味这概念式相机像一般可换镜头相机一样,以不同的镜头进行摄影创作,相信除了一般超广角镜和远摄镜外,鱼眼镜或微距镜亦有可能在模组上出现。



除了独立操作外,当然可以无线方式来增强手机的拍摄功能,亦可支援 4:2:2 格式影片,而相机可以根据镜头的位置来重新定位,令影像始终保持垂直。


来源:PetaPixel
本文地址:http://www.youxixinwen.com.cn/yxxw/13.html
相关推荐
一周热门
事先张扬!Canon R3 样本机东奥现场试游闻1
贷款平台参差不齐,平安好贷APP为何脱颖而出游闻2
数据猿重磅发布《2021中国企业数智化转型升级发展研究报告》游闻3- 游闻数据猿发布《2021企业数智化转型升级创新服务企业》榜,并颁发奖杯
- 游闻贷款平台参差不齐,平安好贷APP为何脱颖而出
- 游闻克丽缇娜如何树立行业“新标杆”
- 游闻贷款平台哪个好下款?当然选平安好贷app,正规靠谱又安全
- 游闻事先张扬!Canon R3 样本机东奥现场试
- 游闻我们是冠军!恭喜ASTER.Y夺得2021极限冲层赛第二赛季全球总冠军!
- 游闻人民日报《走读》恒洁卫浴 解锁高质量卫浴品牌的发展奥秘
- 游闻警惕网络贷款陷阱,平安好贷让你享受正规靠谱的服务
- 游闻实机曝光!Nikon Z9 第一张机背照片流出【照片更新】
- 游闻全球启动!HotLove平台2022年2月28日正式上线!最强时代声浪将从这里发出
- 游闻一张奥运水球相确认 Canon EOS R3 为 2,400万像素!
- 游闻传闻网展示 Fujifilm 即将推出新镜的大小


