Canon 注册全新保护感光元件设计
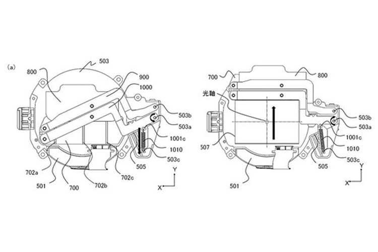
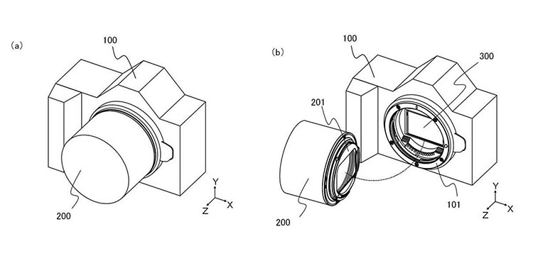
过去无反最麻烦的地方是感光元件容易入尘,因为换镜头时感光元件是完全外露的,直到 Canon EOSR 的推出,就帮用家大大解决了这个问题,事关相机在关机的状态下,快门帘是关闭的,只要用家换镜前关机便可。不过 Canon 最新就注册了一个设计,似乎是可以以更低成本的方式去做出保护感光元件的效果。

旗舰级三频路由器 新一代 Orbi Wi-Fi 6 三频 Mesh WiFi 网络系统!
这是一个看似快门帘的设计,但并不能提供快门的功能,只是纯粹遮挡感光元件防入尘和提供一定的保护。整个保护屏采用机械架构,以弹簧配合扛杆的方式操作。当相机接环上没有装上镜头时,保护屏是处于关闭的状态,而当安上镜头后,镜头便会以机械方式推动保护屏打开,完全不需电力操作,换句话说就是不需额外的电子和电机系统控制。



虽然暂时未知道 Canon 会否真的将这个结构加入未来的相机,但按此保护系统的设计以及以注册的资讯来看,这个架构似乎是会使用在一些较小巧甚至根本没有机械快门的机种之上,在降低成本的同时亦可以为感光元件提供保护。这样的话,是否意味著不久将来会有较 EOS RP 更入门的机种甚至是更小巧的 APS-C 规格型号推出呢?
本文地址:http://www.youxixinwen.com.cn/shuma/12.html
温馨提示:创业有风险,投资须谨慎!编辑声明:游戏新闻网是仅提供信息存储空间服务平台,转载务必注明来源,部分内容来源用户上传,登载此文出于传递更多信息之目的,并不意味着赞同其观点或证实其描述,不可作为直接的消费指导与投资建议。文章内容仅供参考,如有侵犯版权请来信告知E-mail:1074976040@qq.com,我们将立即处理。
业界2年前
Huawei P50、P50 Pro 拍摄规格曝光:主摄将应用不同感光元件
Huawei P50 系列手机有传会于 7 月 29 日正式发表,用家最关心的拍摄规格,近日亦已在网络上曝光。新机的拍摄功能与上代最大分别是, P50 与 P50 Pro 主摄的
网络
132
业界2年前
超越 Apple 成为二哥:小米 12 流出四大卖点冲喜
Qualcomm 有传会在年底提早公布新一代旗舰流动装置 SoC Snapdragon 895,所以近日有传小米新一代旗舰机小米 12,亦会提早于 12 月发表,成为首款应用 Snapdrago
网络
127
业界2年前
东京奥运 Now Sports 九条频道覆盖赛事实况更可用 App 重温
东京奥运还有数天就要正式举行,受到疫情影响今届奥运都要安在家中欣赏,为了让大家感受奥运气氛,Now Sports 九条频道全开,让观众可欣赏赛事内外的
网络
134
-
颠覆电能框架,全新BMW iX豪华纯电旗舰休旅316万元起正式预售
2021-08-01
-
这台特别的保时捷911 Turbo S只生产一台,只为纪念一位伟大的车手
2021-08-01
-
阵中主力电动化,AUDI A6 e-tron有望於2023年量产上市
2021-08-01
-
确保电池技术发展,FORD将於密西根设立电池开发中心
2021-08-01
-
强还要更强,ATS推出RR Turbo Serie Carbonio
2021-08-01
-
持续研发电池技术,中国电池供应商宁德时代宣布推出钠离子电池
2021-08-01
-
FORD预估今年获利将呈现增长,同步逐渐转向接单生产方式
2021-08-01





